A 40
Zobrazit produkty
Popis
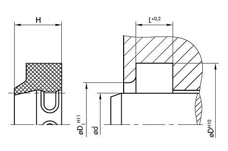
Jednočinný stírací kroužek s hlavním těsnicím břitem.
Standardní materiál
NBR 90
Oblast použití
Stírací kroužek v oblasti hydraulických a a pneumatických systémů .
Funkce
A 40 je jednočinný stěrač. Vzhledem k tomu, že se přitlačí k tyči, špína se setře z povrchu působením tyče, když se zasouvá.
Média
Hydraulické oleje dle. dle DIN 51524, část 1 - 3, mazací oleje, mazací na bázi minerálních olejů tuky, vysoce nehořlavé hydraulické kapaliny HFA, HFB, HFC dle. VDMA 24317.
Hranice použití v provozu
- Teplota (° C): -40 až +100
- rychlost (m / s): ≤ 4
Montáž
Stěrač je instalován v polootevřené drážce (axiálně) .
Poznámky
Stěrače z NBR jsou používány v oblasti hydrauliky a pneumatiky. Jsou vhodné zejména pro tyče s vysokou rychlostí



