K 30
Zobrazit produkty
Popis
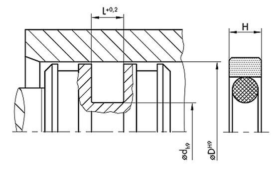
POR PTFE těsnění s O-kroužkem jako pohybujícím se prvkem, mimořádně dobré těsnící funkci při vysokých zatíženích. Další označení : GER, omegat K30, OMK-MR MI, těs. pístu
Standardní materiál
- PTFE 00 9807
- PTFE + Bronze
Oblast použití
Těsnění pístu, pro oboustranné zatížení tlakem.
Funkce
Tyto K těsnění se skládájí z PTFE těsnicího prvku, který je připojen na napájecí napětí pomocí o-kroužku. To má za následek mimořádně dobré těsnící funkci při vysokých zatíženích a dobrý statický výkon těsnění. K 30 design je dvojčinné těsnění pístu.
Média
Hydraulické oleje dle. DIN 51524,
část 1 - 3, mazací oleje, mazací tuky na bázi minerálních olejů, vysoce nehořlavé
hydraulické kapaliny HFA, HFB, HFC dle. VDMA 24317.
Hranice použití v provozu
- Tlak (Mpa): ≤ 40
- Teplota (°C): -30 až +100
- Kluzná rychlost (m/s): ≤ 15
Montáž
U malých průměrů, je nutná instalace
axiálně.



