MA 23
Zobrazit produkty
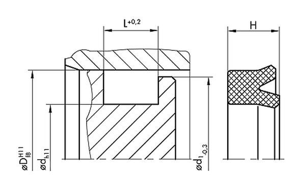
Popis
Jednočinné těsnění pístu s asymetrickým designem. Na rozdíl od jeho použití v hydraulice, může tato konstrukce rovněž použít pro pneumatické aplikace.
Standardní materiál
- NBR 90 3006
Oblast použití
Těsnění
pístu, pro jednostranné zatížení tlakem.
Funkce
MA 23 u-kroužek je jednočinné těsnění pístu s asymetrickým designem. Vzhledem k zapuštěné vnější těsnicí chlopni, předpětí směřuje směrem ven, aby se zvýšila síla těsnicího účinku i při nízkém tlaku. Na rozdíl od jeho použití v hydraulice, může tato konstrukce být rovněž použita pro pneumatické aplikace.
Média
Hydraulické oleje dle. DIN 51524,
část 1 - 3, mazací oleje, mazací tuky na bázi minerálních olejů, vysoce nehořlavé
hydraulické kapaliny HFA, HFB, HFC dle. VDMA 24317.
Hranice použití v provozu
- Tlak (Mpa): ≤ 16
- Teplota (°C): -30 až +100
- Kluzná rychlost (m/s): ≤ 0,5
Montáž
MA 23 může být instalován v řezané drážece
počínaje o vnitřním průměru 25 mm s použitím vhodných montážních nástrojů s menšími
průměry, nebo pro větší šířky profilu.
U-kroužky jsou zvláště vhodné
pro použití při nízkých tlacích. Standardní MA 23 provedení je opatřen 90 Sh-A
tvrdostí.




